
我們專業做異形模具和異形塑料件
開模不成功,退還全部開模費
全國咨詢熱線:
13932815220
13932815220



現象:物料溢邊、射嘴滴膠等這類缺陷。原因:料筒與射嘴的溫度設定不當,射嘴與主澆口模嘴接觸不良,鎖模力不均勻或不恒定,塑料流動性太好,射嘴溫度太高而產生漏膠溢料現象。 注塑成型產品缺陷是造成產品質量不合格的根源,產品缺陷又和注塑操作員、注塑維修工的技術水平有關。保證產品

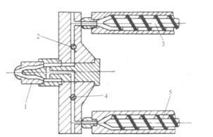
注塑生產中,所謂雙色注塑成型,是指將兩種不同色澤的塑料注入同一模具的成型方法。它能使塑件出現兩種不同的顏色,并能使塑件呈現有規則的圖案或無規則的云紋狀花色,以提高塑件的實用性和美觀性。 雙混色注塑成型 注塑加工廠家生產中,如下圖所示為雙混色注

1.橡膠注塑:橡膠注射成型是一種將膠料直接從機筒注入模型硫化的生產方法。橡膠注塑的優點是:雖屬間歇操作,但成型周期短,生產效率高取消了胚料準備工序,勞動強度小,產品質量優異。2.塑料注塑:塑料注塑是塑料制品的一種方法,將熔融的塑料利用壓力注進塑料制品模具中,冷卻成型得到想要各種塑料件。有專門用于進行注塑的機
HOTLINE
聯系人:史經理
HOTLINE
微信\電話:13932815220
ADDRESS
地址:河北省深州市大屯鎮孤城工業區